News - Purdue Military Research Institute - Purdue University

Skip to main content
Purdue University Home Purdue Military Research Institute
  • Home
  • PMRI Overview
  • Student Fellowship Application (PDF)
  • Faculty Project Application
  • Photo Gallery
  • Educational Programs
  • Research Programs
  • Home
  • PMRI Overview
  • Student Fellowship Application (PDF)
  • Faculty Project Application
  • Photo Gallery
  • Educational Programs
  • Research Programs
Resources
  • College of Engineering
  • Social Media
  • Academic Units
  • Academic Programs
  • Initiatives
  1. Purdue
  2. Engineering
  3. Purdue Military Research Institute
  4. News

Newsroom/Event Calendar

Motion Heading

News

Congratulations to May 2025 PMRI Graduates!

May 17, 2025

News

PMRI graduate student Nicholas Harrell is promoted to Major, May 2025

May 17, 2025

News

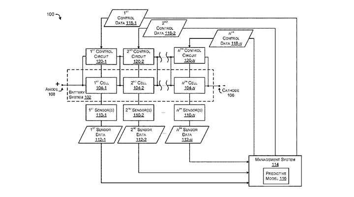
US Patent Granted to Purdue Researchers Including a 2020 PMRI Summer Intern, Jonathan Alvarado

May 17, 2025

News

PMRI Graduate Student Colt Crowson Flies on Zero-G's Parabolic Flight

May 14, 2025

News

The Inaugural Jaquish & Kenninger Foundation Seminar: A Fireside Chat with Dr. Joseph Jewell

May 05, 2025

News

PMRI members of the Purdue AI Racing Team

February 10, 2025

News

West Point Cadets Visit Purdue’s Fall Expo and PMRI

November 21, 2024

News

PMRI: Proud sponsor of the Military Appreciation football game on November 2, 2024

November 12, 2024

News

Spotlight in the Surface Warfare Officer Assignments Newsletter: Lt Santino Alteri

October 28, 2024

News

President Chiang visits with officers in the PMRI seminar class, September 18, 2024

September 19, 2024

News

PMRI celebrates its 10 year anniversary (2014-2024) with the largest class of 105 graduate students in the program this year!

August 20, 2024

News

PMRI welcomes 58 military officers as incoming graduate students at their annual picnic on August 14, 2024

August 20, 2024

Purdue University College of Engineering
Purdue University
610 Purdue Mall
West Lafayette, IN 47906
765-494-4600

Follow Us

  • Facebook
  • Twitter
  • Youtube
  • Instagram
  • Pinterest
  • LinkedIn
  • Medium

  • Social Media
  • Academic Units
  • Academic Programs
  • Initiatives

  • Campus Map
  • Rankings
  • News
  • Events
  • Visit Us

  • Purdue IT - STEM
  • Intranet
  • Brightspace
  • myPurdue

  • Engineering Directory
  • Contact Us
  • Media Contacts
  • Purdue Directory
  • Employment
Copyright © 2024 Purdue University. All Rights Reserved.
Accessibility | EA/EO University | Integrity Statement | Free Expression | DOE Degree Scorecards | Website Issues | Privacy Policy | Contact Us
This page was last modified April 11, 2025. Page rendering took 11 ms. Server: zeoclient-07.
Page rendering took 12 ms.